Svět hardware
Aktuality Články Recenze
Grafiky
  • NVIDIA
  • AMD
  • Intel
Procesory
  • Intel
  • AMD
  • ARM
AI a robotika
  • NVIDIA RTX AI
Více
  • Grafiky
    • NVIDIA
    • AMD
    • Intel
  • Procesory
    • Intel
    • AMD
    • ARM
  • AI a robotika
    • NVIDIA NVIDIA RTX AI
  • Storage a RAM
  • Monitory
  • Akumulátory a EV
  • Ostatní
Aktuality Články Recenze
Grafiky
  • NVIDIA
  • AMD
  • Intel
Procesory
  • Intel
  • AMD
  • ARM
AI a robotika
  • NVIDIA RTX AI
Více
  • Grafiky
    • NVIDIA
    • AMD
    • Intel
  • Procesory
    • Intel
    • AMD
    • ARM
  • AI a robotika
    • NVIDIA NVIDIA RTX AI
  • Storage a RAM
  • Monitory
  • Akumulátory a EV
  • Ostatní
Facebook X
Přihlásit se
Aktuality Články Smarty.cz Recenze
Další
Facebook
SHW na Facebooku
X
SHW na Twitteru
NVIDIA
NVIDIA RTX AI
AI a robotika
Procesory
Grafiky

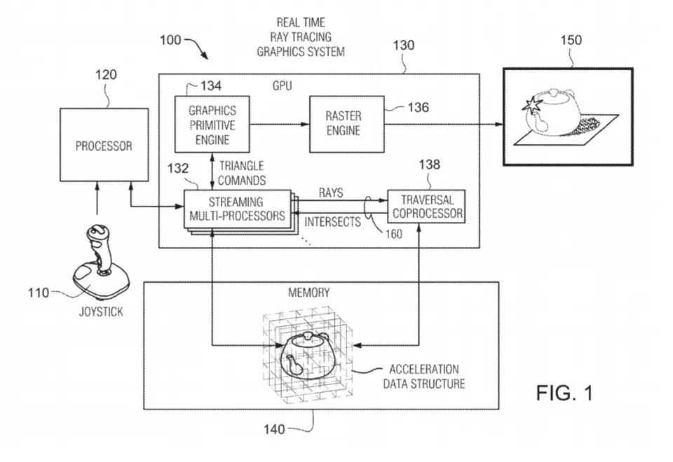
NVIDIA RTX 3090: GPU na jedné straně a údajný Traversal Coprocessor na druhé

1 / 3
Přehled Zavřít
Zdroj: Svět hardware
Zdroj: Svět hardware
Zdroj: Svět hardware
Zdroj: Svět hardware
Zdroj: Svět hardware
Zdroj: Svět hardware
Reklama
Reklama
Grunex.com
Spiders Studio končí? Další výrazná rána pro herní průmysl
Spiders Studio končí? Další výrazná rána pro herní průmysl
Helldivers 2 vylepšuje mechy a přidává nové varianty
Režisér Call of Duty filmu otáčí? Dříve urážel hráče, teď natáčí film
Hrej.cz
Předplatitelé PS Plus se v květnu dočkají velkého sportovního hitu
Předplatitelé PS Plus se v květnu dočkají velkého sportovního hitu
Kolik bude stát GTA 6? Vydavatel naznačil svůj přístup k ceně
Phonopolis od českého studia Amanita Design zná datum vydání
PCTuning.cz
Linux na PS5 je realitou: Udělejte si z konzole plnohodnotné PC
Linux na PS5 je realitou: Udělejte si z konzole plnohodnotné PC
Corsair vydává kabel s ochranou proti roztavení GPU
Test skříně Fractal Design Pop 2 Vision – pro čistý vizuální dojem
Spite.cz
Recenze Saros - Slunce, zatmění a brutální roguelike kolotoč
Recenze Saros - Slunce, zatmění a brutální roguelike kolotoč
Vyšla příběhová akce Aphelion a sbírá první recenze
Masivní boje v 1. světové odstartují v květnu: Gallipoli ukázalo HW požadavky
Tryhard.cz
Hraní League of Legends zlepšuje funkci mozku, potvrdila nová studie
Hraní League of Legends zlepšuje funkci mozku, potvrdila nová studie
TFT Patch 17.2 - Nové champion augmenty, požehnání a návrat encounters
Patch 26.9: Velké změny Role Questů, nová sezóna a nálož obsahu pro Arénu
WoT.cz
Traktory ukazují jak válka vjela do obyčejného venkova
Traktory ukazují jak válka vjela do obyčejného venkova
AMX 50B vypadal jako špatný sen z budoucnosti
Tramvaje připomínají města která žila ještě před prvním výstřelem
Zing.cz
American Truck Simulator hráče brzy vezme do nového státu, známe datum vydání
American Truck Simulator hráče brzy vezme do nového státu, známe datum vydání
Vyšla akce Industria 2, běží na Unreal Enginu 5 a inspiruje se značkou Half-Life
Květnová nabídka her v PlayStation Plus byla oficiálně představena
Digimanie.cz
Využijte slevy k příležitosti Dne práce: Jednorázová platba 30,25 € a MS Office 2021 Professional je navždy váš! Nejnovější Windows 11 Pro v akci
Využijte slevy k příležitosti Dne práce: Jednorázová platba 30,25 € a MS Office 2021 Professional je navždy váš! Nejnovější Windows 11 Pro v akci
TTartisan uvedl objektiv AF 17mm F1.8 Air za 148 USD
Specifikace Xiaomi 17T a 17T Pro unikly: Sází na MediaTek
Redakce Svethardware.cz Systém bodování Inzerce Pravidla užívání Zásady ochrany Cookies Jak vypnout AdBlock RSS
© 1999-2026 Svět hardware & Grunex. Všechna práva vyhrazena. Publikace: ISSN 1213-0818. Verze aplikace 1.5.93.6 Mapa webu