Svět hardware
Aktuality Články Recenze
Grafiky
  • NVIDIA
  • AMD
  • Intel
Procesory
  • Intel
  • AMD
  • ARM
AI a robotika
Více
  • Grafiky
    • NVIDIA
    • AMD
    • Intel
  • Procesory
    • Intel
    • AMD
    • ARM
  • AI a robotika
  • Storage a RAM
  • Monitory
  • Akumulátory a EV
  • Ostatní
NVIDIA NVIDIA RTX AI
Aktuality Články Recenze
Grafiky
  • NVIDIA
  • AMD
  • Intel
Procesory
  • Intel
  • AMD
  • ARM
AI a robotika
Více
  • Grafiky
    • NVIDIA
    • AMD
    • Intel
  • Procesory
    • Intel
    • AMD
    • ARM
  • AI a robotika
  • Storage a RAM
  • Monitory
  • Akumulátory a EV
  • Ostatní
NVIDIA NVIDIA RTX AI
Facebook X
Přihlásit se
Aktuality Články Recenze NVIDIA RTX AI
Další
Facebook
SHW na Facebooku
X
SHW na Twitteru
AI a robotika
Procesory
Grafiky

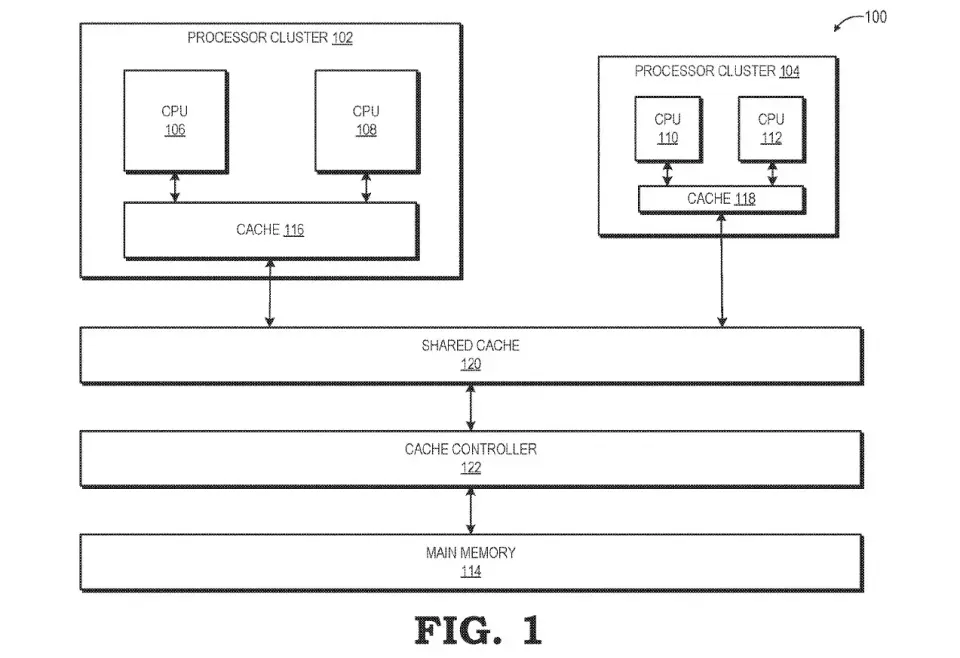
AMD si patentovalo malá a velká jádra v CPU po vzoru Intelu

1 / 2
Přehled Zavřít
Zdroj: Svět hardware
Zdroj: Svět hardware
Zdroj: Svět hardware
Zdroj: Svět hardware
Reklama
Grunex.com
Clash 15: Najděte nejlepší kurzy a vsaďte si za 1000 Kč zdarma
Clash 15: Najděte nejlepší kurzy a vsaďte si za 1000 Kč zdarma
První čtvrtfinálový zápas zvítězili FURIA, Aurora nezazářili!
Takhle hrají profíci na IEM Krakow: podívejte se na jejich našlapané PC
Hrej.cz
Další fotky ze seriálového Tomb Raidera. Lara Croft se ukázala v akci
Další fotky ze seriálového Tomb Raidera. Lara Croft se ukázala v akci
Hitovka ARC Raiders se vyplatila. Tvůrci už připravují dvě další hry
„My si rádi počkáme.“ Šéf Bethesdy promluvil o budoucnosti Falloutu
PCTuning.cz
Clash 15: Najděte nejlepší kurzy a vsaďte si za 1000 Kč zdarma
Clash 15: Najděte nejlepší kurzy a vsaďte si za 1000 Kč zdarma
Vznikají obří továrny na AI aneb neutrhl se computing z řetězu?
Takhle hrají profíci na IEM Krakow: podívejte se na jejich našlapané PC
Spite.cz
Tvůrci The Guild - Europa 1410 radí, jak uniknout popravení
Tvůrci The Guild - Europa 1410 radí, jak uniknout popravení
Hardcore survival HumanitZ vyšel na Steamu v plné verzi
Clash 15: Najděte nejlepší kurzy a vsaďte si za 1000 Kč zdarma
Tryhard.cz
Finále základní části LEC Versus: Los Ratones na hraně postupu
Finále základní části LEC Versus: Los Ratones na hraně postupu
Clash 15: Najděte nejlepší kurzy a vsaďte si za 1000 Kč zdarma
Pentakill jedním spellem a silné augmenty. ARAM: Mayhem trápí řada problémů, Riot již zasahuje
WoT.cz
Nový americký prémiový tank 9. úrovně, OTAC LK-7605, přichází
Nový americký prémiový tank 9. úrovně, OTAC LK-7605, přichází
Clash 15: Najděte nejlepší kurzy a vsaďte si za 1000 Kč zdarma
Poražte Superčetu streamovacího teamu a získejte odměny
Zing.cz
WoW varuje: Saga si vyžádá oběti mezi klíčovými hrdiny
WoW varuje: Saga si vyžádá oběti mezi klíčovými hrdiny
Diablo IV je nejrychleji prodávaná hra v historii Blizzardu
Cozy novinky s Terry #40
Digimanie.cz
Clash 15: Najděte nejlepší kurzy a vsaďte si za 1000 Kč zdarma
Clash 15: Najděte nejlepší kurzy a vsaďte si za 1000 Kč zdarma
Český hit Kingdom Come: Deliverance II dostal vlastní limitovanou edici Philips OneBlade. Do projektu se zapojí Agraelus, Smarty.cz i Prusa Research
Canon si patentoval profi APS-C zoomy pro RF: 15-70mm i 15-80mm
Redakce Svethardware.cz Systém bodování Inzerce Pravidla užívání Zásady ochrany Cookies Jak vypnout AdBlock RSS
© 1999-2026 Svět hardware & Grunex. Všechna práva vyhrazena. Publikace: ISSN 1213-0818. Verze aplikace 1.5.86.0 Mapa webu