Galerie 2
AMD si patentovalo malá a velká jádra v CPU po vzoru Intelu
i Zdroj: Svět hardware
Aktualita Procesory AMD AMD

AMD si patentovalo malá a velká jádra v CPU po vzoru Intelu

Jan Vítek

Jan Vítek

8

Intel už očividně míří směrem k hybridním architekturám, které se budou skládat z velkých a malých jader, respektive výkonnějších a slabších jader. A skutečně není divu, že jej AMD bude chtít následovat.

Odměníme každého! Vyplňte komunitní průzkum a získejte luxusní ceny

Odměníme každého! Vyplňte komunitní průzkum a získejte luxusní ceny

Kdo jste, na čem a co hrajete, jaký obsah konzumujete a jaký vztah máte k AI? Věnujte nám pár minut a jako dárek za vyplnění získáte slevu na nákup a šanci získat také další luxusní ceny.

Reklama

Navzdory tomu, v jakých problémech se Intel nyní nachází a jaké úspěchy zažívá AMD, to je stále z dvojice hlavních výrobců procesorů x86 ten jasně slabší, který vždy následoval Intel a jeho rozvoz této architektury. To samozřejmě neznamená, že AMD nepřipravilo v jejím rámci nic vlastního a originálního, ale pokud byl vývoj x86 pod něčí taktovkou, pak ta patřila Intelu. 

AMD si patentovalo malá a velká jádra v CPU po vzoru Intelu

Dalo se tak čekat, že AMD nebude ani nyní nečinně stát a koukat se na nástup hybridních procesorů x86 kombinujících velká a malá jádra. AMD touto cestou už v podstatě chtělo jít dřív, když si vymyslelo první APU, ale to se ještě čekalo, že integrovaná GPU budou později  jako GPGPU běžně využívána aplikacemi v tandemu s CPU, které tak jimi bude akcelerované. Postupem času se ale z APU staly prostě jen slabší procesory s integrovanou grafikou a ne hybridní architektura. 

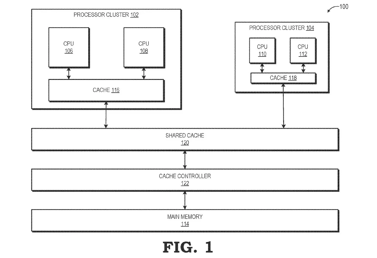
Nový patent firmy AMD mluví konkrétně o “high-feature processor” a “low-feature processor”, jak jsou prostě nazývána výkonnější a slabší jádra. Dále se věnuje očividným věcem a mimo jiné sděluje, že pokud výkonnější jádro není dostatečně zatíženo, vlákno se přesune na slabší jádro. To tak znamená i přesun příslušných dat z cache do cache, ovšem samozřejmě dle diagramu pouze té, která patří výhradně konkrétním CPU jádrům. Lze si tak představit, že to bude v kontextu s dnešními čipy L1 + L2 cache, zatímco data ve sdílené paměti (L3 cache) se přesouvat nemusí. A samozřejmě to bude fungovat i opačně, čili vlákno se v případě maximálního zatížení přesune z malého jádra na velké. 

Otázka ale je, jaká bude konkrétní implementace a AMD navrhuje dvě. V první se pro komunikaci mezi CPU využívá jejich sdílená paměť cache a data, k nimž mohou přistupovat oba typy jader a ve druhé se má využít jisté virtuální spojení v rámci cache. Dále by mělo být možné využívat typ jader, která nemusí podporovat ty samé instrukce. Šlo by pochopitelně o slabší jádra a jejich omezenou výbavu, která by v případě, že daný proces bude chtít využít jimi nepodporované vlastnosti, vlákno ihned stopy, uložily celkový stav a ten by pak byl obnoven už na silném jádru. 

A nakonec by ani nemuselo jít jen o slabší a silnější CPU jádra, ale o celou nabídku tvořenou i GPU či DSP, a to se v podstatě opět vracíme k původnímu nápadu, který stál za vytvořením čipů označovaný jako APU. 

AMD tak zcela jistě uvažuje o hybridních architekturách, ale nevypadá to, že by už mělo mít v ruce něco konkrétního. 


Reklama
Reklama

Komentáře

Nejsi přihlášený(á)

Pro psaní a hodnocení komentářů se prosím přihlas ke svému účtu nebo si jej vytvoř.

Rychlé přihlášení přes:

Reklama
Reklama
Reklama