Galerie 4
AMD si zaregistrovalo patent pro chlazení 3D čipů
i Zdroj: Svět hardware
Aktualita Storage a RAM AMD

AMD si zaregistrovalo patent pro chlazení 3D čipů

Jan Vítek

Jan Vítek

Využití 3D či vrstvených pamětí typu DRAM máme v PC světě spojeno především s firmou AMD. Ta se jako jediná odhodlala je v podobě HBM nabídnout i běžným spotřebitelům a nyní hledá cesty k jejich účinnějšímu chlazení.

Odměníme každého! Vyplňte komunitní průzkum a získejte luxusní ceny

Odměníme každého! Vyplňte komunitní průzkum a získejte luxusní ceny

Kdo jste, na čem a co hrajete, jaký obsah konzumujete a jaký vztah máte k AI? Věnujte nám pár minut a jako dárek za vyplnění získáte slevu na nákup a šanci získat také další luxusní ceny.

Reklama

Vedle neustálého vývoje pokročilejších výrobních technologií, které jsou schopny na stejnou plochu umístit více prvků a výsledný čip provozovat při nižším napětí s celkově nižší spotřebou, je dnes nutné se poohlížet i po jiných způsobech pro zajištění celkového pokroku. Jedním z takových je vrstvení čipů, na což v případě samotných paměťových buněk už dávno přišli výrobci pamětí NAND Flash a my bychom si bez toho dnes jednoduše nemohli kupovat 1TB SSD už za ceny kolem 3000 Kč. 

AMD si zaregistrovalo patent pro chlazení 3D čipů

Intel už se také probudil a chystá vrstvené čipy Foveros, a to už na aktuální rok, přičemž co se týče pamětí DRAM, v jejich případě máme vrstvení spojeno především s typem HBM. Tyto paměti neudivují svými takty, však 1 GHz není na dnešní dobu nic, ale dohání to svou obrovskou šířkou rozhraní, a sice 1024 pinů na jeden jediný čip.

Nízké takty umožní provoz takových pamětí s přijatelnou spotřebou a výdejem tepla, což je zvláště důležité především při jejich vrstvení, neboť vrstvy blíže k chladiči sice mohou být chlazeny dobře, ale ty nižší se už mohou hodně potit. V případě budoucích produktů tak bude třeba vymyslet nový přístup k chlazení, o čemž se už v případě Foveros Intel zmínil. V jeho případě budou níže umístěné čipy uloženy pod jistou "vaničkou", jejíž tlusté okraje budou sahat až na heatspreader či styčnou plochu chladiče. V této vaničce pak budou umístěny další čipy, které tak teplo ze spodních vrstev bude moci obejít. Jak to ale chce řešit AMD? 

AMD si zaregistrovalo patent pro chlazení 3D čipů

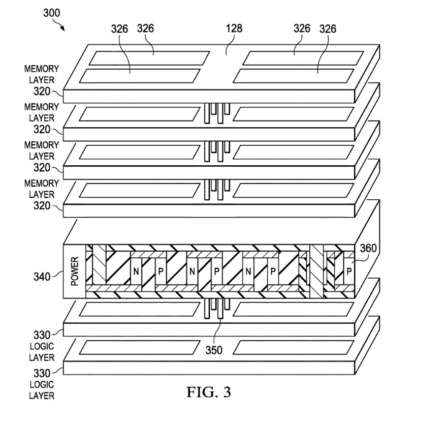
Předem je třeba říci, že zatím jde pouze o patent, od nějž je k reálnému produktu ještě velice daleko. Nejzajímavější je tento první nákres, na němž vidíme vrstvený čip propojený vertikálními datovými spoji (TSV), přičemž spodní vrstvy obsahují logické obvody (čili CPU, GPU, apod.) a vrchní vrstvy jsou paměťové. 

Mezi nimi pak vidíme tlustou vrstvu s postranním napájením a částmi označenými jako N a P, takže modří jistě již vědí, že půjde o termoelektrický, neboli Peltierův článek. Ten dokáže po přivedení napětí jednu svou stranu ochlazovat, ovšem na úkor zahřívané opačné strany. Změnou polarity lze určit, která strana se bude ochlazovat a která zahřívat, čili kam bude teplo "pumpováno". 

AMD si zaregistrovalo patent pro chlazení 3D čipů

Jde o zajímavé řešení, které však zatím nic neříká o praktické implementaci. Nedozvíme se, kam má teplo směřovat dál. Těžko mohou být chlazeny obě strany čipu, když ten musí být někde napojen na desku a diagram přitom zahrnuje i možnost aktivního přenosu tepla z vrchních paměťových vrstev dolů k logickým. Nicméně jde jen o patent, ne o návrh čipu. 

Zcela zřejmý je ale fakt, že takové chlazení nebude pracovat zadarmo. Pelitery potřebují energii a aby měly nějaký efekt, nebývá to zanedbatelný objem. Takže uvidíme, zda se s něčím takovým vůbec setkáme v praxi.


Reklama
Reklama

Komentáře

Nejsi přihlášený(á)

Pro psaní a hodnocení komentářů se prosím přihlas ke svému účtu nebo si jej vytvoř.

Rychlé přihlášení přes:

Reklama
Reklama
Reklama