Galerie 4
AMD RX 7000 by mohly nabídnout vlastní AI jádra ve stylu NVIDIA Tensor
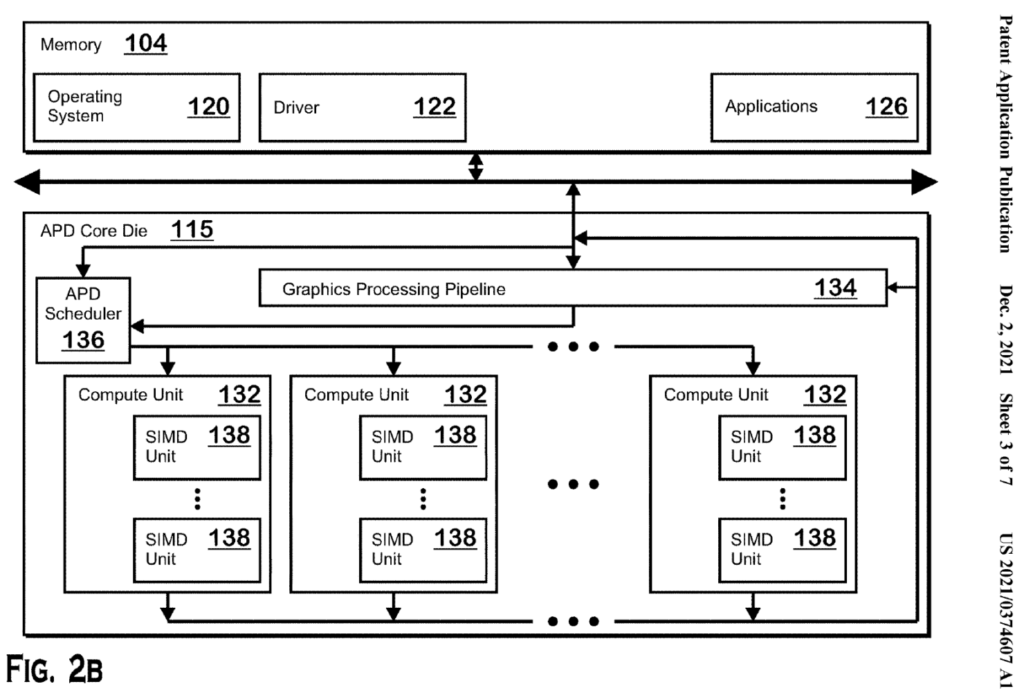
i Zdroj: Svět hardware
Aktualita Grafiky a hry Radeony AMD

AMD RX 7000 by mohly nabídnout vlastní AI jádra ve stylu NVIDIA Tensor

Jan Vítek

Jan Vítek

2

Společnost AMD se aktuálně snaží dotáhnout na NVIDII s ohledem na podporu ray tracingu ve hrách a také jí leccos chybí i v případě upscalingu obrazu, což jsou dvě už úzce spojené věci. Co by ale mohly v tomto ohledu nabídnout budoucí Radeony?

Odměníme každého! Vyplňte komunitní průzkum a získejte luxusní ceny

Odměníme každého! Vyplňte komunitní průzkum a získejte luxusní ceny

Kdo jste, na čem a co hrajete, jaký obsah konzumujete a jaký vztah máte k AI? Věnujte nám pár minut a jako dárek za vyplnění získáte slevu na nákup a šanci získat také další luxusní ceny.

Reklama

AMD samo nabízí podporu ray tracingu až od aktuální generace Radeonů RX 6000 (Navi 2) a nesmíme zapomenout ani na nové konzole, i když v jejich případě nyní ray tracing žádný hit. On to sice není ani v případě PC, tedy alespoň ve smyslu zájmu veřejnosti. Z technického hlediska představuje ray tracing v reálném čase revoluci, jenomže nyní je ještě stále v plenkách a vývojáři si musí pečlivě vybírat, k čemu dostupný výkon využijí, takže vizuální změny mají často velice daleko k tomu, aby se v porovnání s rasterizací daly označit za propastné. Tomu odpovídá i pohled veřejnosti, neboť mnozí v ray tracingu v takové podobě nevidí smysl a jiní ani nevidí rozdíl, leda snad v hardwarové náročnosti. A právě tu pomáhá snižovat v případě NVIDIE technologie DLSS, která už nabízí viditelnější dopad. 

AMD RX 7000 by mohly nabídnout vlastní AI jádra ve stylu NVIDIA Tensor

DLSS také není dokonalá technologie, neboť občas tvoří nepěkné artefakty či duchy, ale na druhou stranu se stále vyvíjí a zlepšuje a na rozdíl od "hloupého" upscalingu dokáže rekonstruovat detaily, které by se jinak kvůli nízkému výchozímu rozlišení mohly už zcela vytratit. V tom nemá u FSR konkurenci a AMD si to jistě dobře uvědomuje, jenomže bez příslušného hardwaru, který GeForce mají vyhrazen právě pro DLSS, s tím těžko šlo něco dělat. 

AMD RX 7000 by mohly nabídnout vlastní AI jádra ve stylu NVIDIA Tensor

Nyní se ale objevil patent firmy AMD, který se týká právě akcelerátorů pro strojové učení a GPU. To samozřejmě není záruka, že se takový hardware objeví už v Radeonech RX 7000, nebo snad že se vůbec objeví, ale AMD zřejmě technologicky nebude chtít zůstat pozadu, zvláště když bude mít upscaling založený na AI také Intel (XeSS) hned ve svých prvních herních Xe-HPG. 

AMD RX 7000 by mohly nabídnout vlastní AI jádra ve stylu NVIDIA Tensor

Ovšem nejde pouze o převod obrazu do vyššího rozlišení, v čem se mohou AI jádra uplatnit. Jejich využití by totiž mohlo být důležitou součástí budoucích herních enginů, a to třeba pro docílení opravdu fotorealistické grafiky, jak už předvedl právě Intel na GTA V. Jinými slovy, další zlepšování kvality herní grafiky by už nezáviselo na lepších shaderech, texturách a nových technologiích, které mají za úkol imitovat způsob šíření světla. Stačit by mohl vstup v rozumné grafické kvalitě a AI, která by jej v okamžiku převedla do fotorealistické grafiky. 

Těžko tak tvrdit něco konkrétního o tom, v jakých produktech by se patent AMD mohl uplatnit. To jednoduše nemůžeme vědět, stejně jako to, kdy by se mohly objevit nebo zda si AMD vůbec chystá nějakou opravdovou alternativu pro DLSS či XeSS, nebo se spokojí s FSR a třeba se zaměří na mnohem širší využití AI jader, než je jen upscaling. 


Reklama
Reklama

Komentáře

Nejsi přihlášený(á)

Pro psaní a hodnocení komentářů se prosím přihlas ke svému účtu nebo si jej vytvoř.

Rychlé přihlášení přes:

Reklama
Reklama
Reklama