Galerie 3
AMD si patentuje CPU s integrovanými FPGA prvky
i Zdroj: Svět hardware
Aktualita Procesory AMD AMD

AMD si patentuje CPU s integrovanými FPGA prvky

Jan Vítek

Jan Vítek

7

Tato zpráva má bezpochyby souvislost s akvizicí firmy Xilinx, která byla ohlášena na konci října. Týká se totiž patentu nového procesorového designu, který počítá s integrováním jistých FPGA prvků přímo do jader.

Odměníme každého! Vyplňte komunitní průzkum a získejte luxusní ceny

Odměníme každého! Vyplňte komunitní průzkum a získejte luxusní ceny

Kdo jste, na čem a co hrajete, jaký obsah konzumujete a jaký vztah máte k AI? Věnujte nám pár minut a jako dárek za vyplnění získáte slevu na nákup a šanci získat také další luxusní ceny.

Reklama

AMD ohlásilo akvizici firmy Xilinx loni na konci října, takže jsme mohli počítat s tím, že se dočkáme nějakých novinek spojených s čipy FPGA nebo Adaptive SoC, což jsou domény právě firmy Xilinx. Nyní tu máme nový patent, který se týká využití FPGA elementů v jádrech CPU, který je nazván "Method and Apparatus for Efficient Programmable Instructions in Computer Systems". 

AMD si patentuje CPU s integrovanými FPGA prvky

Jak připomíná server techPowerUp, konkurenční Intel už nabízí spojení CPU a FPGA třeba v případě procesoru Xeon 6138P, který obsahuje také FPGA Arria 10 GX 1150. Ovšem zde jde jen o dva čipy (CPU a FPGA) vedle sebe na stejné procesorové destičce, zatímco AMD chce FPGA prvky implementovat do stejného kusu křemíku s klasickým CPU.

Možné výhody jsou nasnadě, a tkví vedle možností vyplývajících z integrace také v rychlé komunikaci, která nebude omezena rozhraním mezi dvěma samostatnými čipy, které už ze své podstaty nemůže být tak rychlé a pohotové, tedy pokud se nevyužije nějaký pokročilý způsob pouzdření s využitím interposeru nebo v případě Intelu spíše EMIB. 

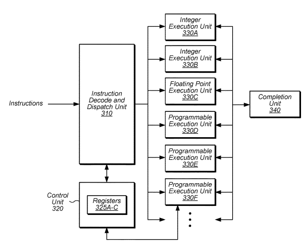
V patentu firmy AMD je uvedeno, že výsledný procesor bude obsahovat jednu či více přeprogramovatelných jednotek (Programmable Execution Unit - PEU), které mohou být naprogramovány pro vykonávání určitých instrukcí. Pokud na takovém procesoru spustíme podporovanou aplikaci, rovnou se do FPGA část naprogramuje pro vykonávání jistých instrukcí, které bude dekódovat a odesílat samotné CPU.

AMD si patentuje CPU s integrovanými FPGA prvky

PEU budou sdílet registry s jednotkami pro výpočet v plovoucí i pevné řádové čárce (FP a INT), jimž budou schopny v případě potřeby pomoci. PEU budou také využitelné ve virtualizaci s využitím obvyklých bezpečnostních funkcí a také je bude možné programovat nezávisle na dalších případných PEU v systému. 

Dále se dozvídáme, že PEU budou moci pracovat s různými neobvyklými formáty jako Bfloat16, FP16 či Sparse FP16, čili AMD zde konkrétně myslí i na akceleraci umělé inteligence a především budou moci v závislosti na konkrétní zátěži velice zvýšit IPC, čili výkon procesoru na takt. 

Celkově to vypadá na novou snahu firmy AMD přinést revoluci mezi procesory x86, podobně jako tomu bylo v případě prvních APU. Ta měla v rámci GPGPU přinést prudký výkonnostní nárůst pomocí výkonných integrovaných GPU, což se ale v podstatě nikdy nestalo, respektive APU neměla velký vliv na rozvoj GPGPU. To byla ale doba bulldozerová, kdy AMD celkově chřadlo, zatímco dnes je ve zcela jiné pozici a navíc je tu velký rozdíl mezi úzce zaměřenými GPU a univerzálními FPGA. Ostatně jak se píše výše, pokud FPGA nebudou mít na práci nic lepšího, mohou alespoň pomoci celočíselné nebo matematické jednotce.  


Reklama
Reklama

Komentáře

Nejsi přihlášený(á)

Pro psaní a hodnocení komentářů se prosím přihlas ke svému účtu nebo si jej vytvoř.

Rychlé přihlášení přes:

Reklama
Reklama
Reklama