Galerie 4
Patent Intelu ukazuje na vícečipová GPU
i Zdroj: Svět hardware
Aktualita Grafiky a hry Intel Xe Intel

Patent Intelu ukazuje na vícečipová GPU

Jan Vítek

Jan Vítek

3

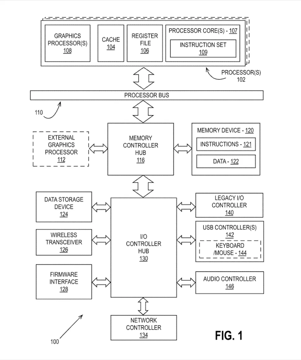
Dnes je už zřejmé, že je spíše jen otázkou času, než AMD, NVIDIA i Intel začnou vyrábět vícečipová GPU i pro běžné zákazníky, čili pro herní účely. Čili patent Intelu nás nezajímá coby potvrzení takových plánů, ale spíše se můžeme pídit po detailech.

Odměníme každého! Vyplňte komunitní průzkum a získejte luxusní ceny

Odměníme každého! Vyplňte komunitní průzkum a získejte luxusní ceny

Kdo jste, na čem a co hrajete, jaký obsah konzumujete a jaký vztah máte k AI? Věnujte nám pár minut a jako dárek za vyplnění získáte slevu na nákup a šanci získat také další luxusní ceny.

Reklama

AMD už nabízí vícečipová GPU Aldebaran, Intel samotný pilně pracuje na svém Ponte Vecchio, ovšem NVIDIA asi své Hopper pojme ještě jako monolity a vícečipová bude až příští generace. To jsou všechno ovšem serverové produkty a pokud jde o herní hardware, jako první to bude zřejmě AMD, které na trh uvede vícečipové produkty. 

Patent Intelu ukazuje na vícečipová GPU

Otevírá se nám tu nová éra, která umožní výrobcům GPU tvořit velice rozličné produkty, neboť způsobů kombinace více čipů v jednom výsledném GPU je mnoho. Záležet tu bude na způsobu propojení použitých čipů, čili na technologii pouzdření, dále na použitých výrobních technologiích a také na tom, k čemu bude ten který čip určen, respektive jakým způsobem bude celé GPU "naporcováno" a co z toho bude vyplývat pro celou architekturu. 

Patent Intelu ukazuje na vícečipová GPU

Intel tu popisuje grafický procesor, jehož jednotlivé části společně pracují na renderování jednotlivých snímků, což by se dalo označit prostě jako vícečipovou obdobu technologií jako SLI či CrossFire, které ovšem využívají výkon dvou či více samostatných grafických karet. Dozvídáme se, že některý z čipů nejdříve připraví celou scénu a určí, co se bude a nebude renderovat dle viditelnosti modelů a jejich částí z pohledu kamery a pak se celá scéna teprve rozdělí na jednotlivé dlaždice, které už jsou odeslány ke zpracování jednotlivým grafickým procesorům, které provedou veškerý shading či ray tracing. 

Patent Intelu ukazuje na vícečipová GPU

Ve výsledku se pak z dlaždic vytvoří celý snímek, přičemž Intel počítá s tím, že stejný přístup bude moci využít na prostém desktopu, na víceprocesorové pracovní stanici nebo i na velkém serveru či naopak na mobilním SoC. Jde tak jen o hrubé nastínění toho, jakým způsobem bude rozdělena práce mezi více grafických čipů. Na konkrétní implementaci si budeme muset ještě počkat. 

My nyní budeme zvědaví především na přístup firmy AMD a jakým způsobem ta skloubí dohromady 5nm a 6nm čipy na svých Navi 31 a 32. O nich zatím nevíme v podstatě nic, takže ani to, kolik čipů výsledná GPU budou mít, jak ty budou propojeny a jaké budou mít funkce. AMD může jít stejnou cestou jako v případě svých procesorů, což by znamenalo využití I/O jádra (6nm) vybaveného třeba i multimediálním enginem a pak jednoho či více 5nm jader se shadery, ray tracingovými jádry a zkrátka s tím nejpodstatnějším hardwarem.  


Reklama
Reklama

Komentáře

Nejsi přihlášený(á)

Pro psaní a hodnocení komentářů se prosím přihlas ke svému účtu nebo si jej vytvoř.

Rychlé přihlášení přes:

Reklama
Reklama
Reklama