Článek Ostatní Základní desky Platforma Intel Socket 775 Intel

Čipové sady Intel 3 Series (DDR3, PCIe 2.0)

Petr Popelka

2

Pomalu končí čas oblíbených čipových sad Intel 965 Express, poněvadž tu máme rodinu čipsetů nových, čítající celkem osm velmi zajímavých členů. V tomto článku si jednotlivé členy představíme a podíváme se i na nové technologie, které je doprovázejí.

Odměníme každého! Vyplňte komunitní průzkum a získejte luxusní ceny

Odměníme každého! Vyplňte komunitní průzkum a získejte luxusní ceny

Kdo jste, na čem a co hrajete, jaký obsah konzumujete a jaký vztah máte k AI? Věnujte nám pár minut a jako dárek za vyplnění získáte slevu na nákup a šanci získat také další luxusní ceny.

Reklama

Intel 3 Series, s kódovým označením Bearlake, je nová rodina čipových sad určená pro LGA 775 tj. pro nejnovější procesory společnosti Intel. Tato rodina čítá celkem osm členů a jedná se o přímé následovníky předchozích čipových sad, kteří přinášejí několik velmi příjemných novinek. Své zastoupení tu mají čipové sady pro Low-End, mainstream i pro High-End, takže si bude moci na své přijít opravdu každý. Dvě z celkem osmi čipových sad můžeme najít v prodeji již dnes, přičemž dalších šest na své uvedení teprve čeká.

Čipové sady Intel 3 Series (DDR3, PCIe 2.0)

Low-End P31 a G31 Express

Vezmeme to hezky postupně a začneme obecným představením, při kterém využijeme tabulku níže. Nejnižšími zástupci jsou čipsety s označením

P31 a G31 Express

, které najdou své využití v levnějších sestavách, kde nahradí současné čipsety 946GZ, 946GC a 946PL Express. Zpočátku nabídnou FSB na frekvenci 1066 MHz a teprve o něco později (první čtvrtletí 2008) by se měla objevit oficiální podpora i pro procesory s rychlostí sběrnice 1333 MHz. Důvodem je skutečnost, že v případě P31/G31 se nejedná o deriváty nové architektury Intel 3 Series, ale o

upravenou čipovou sadu 945

se SouthBridge ICH7, která bude mít podporu nových 45nm procesorů Yorkfield a Wolfdale. O grafický výstup se v případě G31 postará jádro Intel

GMA 3100

, naproti tomu P31 integrovanou grafiku postrádá, což je také jediný rozdíl oproti G31.

Intel 3 Series

Označení čipsetu

Nahrazený čipset

Segment trhu

Uvedení na trh

X38

975X

High-End

Q3 2007

P35

P965

High-End

4. června 2007

Q35

Q965

Business

Q3 2007

G35

G965

Mainstream

Q3 2007

Q33

Q963

Business

Q3 2007

G33

945G

Mainstream

4. června 2007

G31

946GZ, 946GC

Low-End

Q3 2007

P31

946PL

Low-End

Q3 2007

Q33 a Q35 Express

Čipové sady

Q33 a Q35 Express

splňují přísná kritéria platfomy vPro a jsou určeny pro obchodní segment trhu. S těmito čipovými sadami se setkáme například u výrobců jako Dell nebo HP, konkrétně tedy v jejich značkových počítačích. Q33 i Q35 budou obsahovat integrované grafické jádro, avšak není ještě jisté, jak to u nich bude s podporou pamětí DDR3. Q33 bude disponovat technologií AMT pro vzdálenou správu, Q35 potom vylepšenou verzí této technologie s názvem AMT Pro a navíc technologií TXT (Trusted Execution Technology), která zajišťuje ochranu systému před škodlivým SW. Intel pak v případě obou těchto čipových sad slibuje nízké TDP a nízkou spotřebu v idle režimu. Na přesné parametry si ale ještě musíme počkat, informací je k dispozici prozatím pomálu.

Dostáváme se s k čipovým sadám, které již byly na trh uvedeny a o nichž se lze také dozvědět podstatně více informací. Jsou jimi

G33 Express

(82G33 GMCH) a

P35 Express

(82P35 MCH), obě ve spojení se SouthBridge ICH9.

Čipové sady Intel 3 Series (DDR3, PCIe 2.0)

G33 Express již v prodeji

G33 Express je čipová sada spadající do mainstreamu a nabízející výkonné řešení v kombinaci s integrovanou grafikou. Hlavními novinkami, které u ní najdeme, je samozřejmě podpora nových 45nm procesorů, 1333MHz FSB, podpora DDR3 pamětí a v neposlední řadě také nový SouthBridge ICH9. Spotřeba nového G33 by neměla přesáhnout 14,5 W, čip je vyroben 90nm technologií a obsahuje 45 milionů tranzistorů. Integrovaná grafika je stejná jako v případě G31, jedná se tedy o

GMA 3100

, avšak čipset G33 podporuje navíc Intel Fast Memory Access, což je technologie pro zrychlení přístupu k pamětem. Dle demonstračního obrázku (pocházejícím z Intelu) níže dosáhl G33 při přímém srovnání s čipsetem 945G o 20% lepšího výsledku v 3DMarku06).

Čipové sady Intel 3 Series (DDR3, PCIe 2.0)

Grafika v případě G33 nabídne podporu DirectX 9.0c a nebude chybět ani podpora technologie Intel Clear video.

G35 Express s novým grafickým jádrem

Od čipsetu

G35 Express

pak můžeme očekávat navíc podporu DirectX 10, Shader Modelu 3.0/4.0, HW T&L a také HDMI s plnou podporou HDCP díky integrované

GMA X3500

. Tato výhoda je však vykoupena jednou nevýhodou, jelikož G35 nemá podporu pro DDR3 paměti.

Čipové sady Intel 3 Series (DDR3, PCIe 2.0)


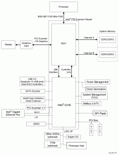
Blokové schema G33 a Q35 (klikněte pro zvětšení)

Čím zaujme P35 Express?

Dostáváme se k části, která určitě vzbudí zájem největší, neboť jejím obsahem bude čipová sada P35 Express, jakožto náhrada za velmi oblíbený čipset P965 Express. Podívejme se nejprve, jak si vedle sebe stojí Intel P35, G33 a P965 Express:

Specifikace čipových sad

Čipset

P35

G33

P965

NorthBridge

P35 MCH

G33 GMCH

P965 MCH

Podpora CPU

Core 2 Duo, Core 2 Quad, Core 2 Extreme

Core 2 Duo, Core 2 Quad

Pentium Extreme, Pentium D, Pentium 4, Core 2 Duo, Core 2 Extreme

Systémová sběrnice

800, 1066, 1333

800, 1066, 1333

533, 800, 1066

Typ operační paměti

Dual DDR2/DDR3

Dual DDR2/DDR3

Dual DDR2

Rychlost paměti (DDR2/DDR3)

667, 800, 1067* / 800, 1067, 1333*

667, 800 / 800, 1067

533, 667, 800

FlexMemory Technology

ano

ano

ano

Maximum paměti

8 GB

8 GB

8 GB

Grafické jádro

ne

ano

ne

TDP

16-18 W

14-15 W

19 W

SouthBridge

ICH9, ICH9R, ICH9DH

ICH9, ICH9R, ICH9DH

ICH8, ICH8R, ICH8DH

Propojení

2 GB/s

2 GB/s

2 GB/s

Slotů PCI

6

6

6

Linek PCIe

6

6

6

Audio

Intel HD audio

Intel HD audio

Intel HD audio

LAN

Gigabit MAC

Gigabit MAC

Gigabit MAC

ATA

6 portů SATA 3Gbps včetně eSATA

6 portů SATA 3Gbps včetně eSATA

6 portů SATA 3Gbps včetně eSATA

RAID PATA

ne

ne

ne

RAID SATA

0, 1, 5, 10

0, 1, 5, 10

0, 1, 5, 10

USB

12

12

10

Vypnutí portů USB

ano

ano

ano

Turbo Memory (Robson)

ano

ano

ne

Matrix Storage Technology

ano

ano

ano

Quick Resume Technology

ano

ano

ano

Quiet System Technology

ano

ano

ano

*Pouze v High-End segmentu

Intel se rozhodl u svých nových čipsetů pro podporu pouze nejnovějších procesorů založených na architektuře Core 2. Výrobci základních desek však s tímto faktem naložili po svém a většina desek na trhu podporuje i Pentia 4, Pentia D a Pentia Extreme Edition s 800MHz nebo 1066MHz FSB.

Při letmém pohledu na tabulku se může zdát, že P35, krom podpory DDR3 pamětí a nejnovějších procesorů, nenabízí téměř nic nového. Při bližším pohledu ale zjistíme, že to není tak úplně pravda. Společně s rostoucími nároky na výkon jsou kladeny stále větší nároky na spotřebu a účinnost počítačů a počítačových komponent. V tomto směru přináší P35 ryze pozitivní zprávy. Spotřeba se navzdory vyššímu výkonu podařila nepatrně snížit, což má za následek nižší tepelné vyzařování a to určitě uvítá každý. I podpora DDR3 pamětí přináší drobnou úsporu energie a nižší vyzařované teplo.

Čipové sady Intel 3 Series (DDR3, PCIe 2.0)

P965 byl velmi oblíbený u overclockerů díky dobré taktovatelnosti zejména v případě dražších modelů desek. U nových čipsetů Intel 3 Series se však objevil nápis "

Over-speed protection removed

", který slibuje ještě lepší taktovací schopnosti než předchozí P965. Pozitivem tohoto čipsetu je jistě také vylepšení paměťového řadiče a především pak podpora rychlých pamětí DDR2 s frekvencí až 1067 MHz a samozřejmě také DDR3 s frekvencí až 1333MHz (pouze u základních desek spadajících do High-End segmentu). Aby těch pozitvních informací nebylo málo, čipset P35 Express má oficiální podporu CrossFire režimu, kdy každá z karet bude moci využívat osm PCIe linek, přičemž zbylých šest linek pro PCIe x1/x2 zůstane volných. U některých základních desek s čipsetem P965 jsme také mohli na CrossFire narazit, v takovém případě však jedna karta využívala všech šestnáct PCIe linek a druhá karta využila jen čtyři linky ze zbylých PCIe slotů, což degradovalo její výkon.

Na našem serveru byly v době uvedení čipové sady P35 Express zveřejněn i

test prvních desek

s tímto čipsetem (které navíc oobsahují porovnání výkonu pamětí DDR2 a DDR3 na Combo základní desce MSI).

Čipové sady Intel 3 Series (DDR3, PCIe 2.0)


Blokové schema P35 (klikněte pro zvětšení)

Těšíme se na X38...

Třešničkou na dortu dnešního představení nové rodiny čipsetů je Intel X38 Express, na který se můžeme těšit již letos na podzim. Ten je určen pro nejnáročnější hráče a overlockery a nahradí dnes již nepříliš zajímavý 975X.

Čipové sady Intel 3 Series (DDR3, PCIe 2.0)

Tento čipset vychází z P35, nabízí však několik podstatných změn. X38 je jediným z rodiny Intel 3 Series, který nabízí dva plnohodnotné PCIe x16 sloty (ty mohou využívat režim CrossFire, podpora SLI zatím potvrzena nebyla) a je také prvním čipsetem vůbec s podporou nového standardu PCI Express 2.0. Samozřejmostí je pak podpora všech nejnovějších procesorů pro LGA 775 a podpora pamětí DDR3 na 1333 MHz (hovoří se i o 1666 MHz, tato informace však není oficiálně potvrzena). V případě čipsetu X38 se již setkáme s paměťmi DDR2 jen zřídka (přestože čipset s nimi pracovat umí), neboť Intel se rozhodl pro oficiální podporu pouze DDR3 pamětí. Vše je tedy v rukou už jen samotných výrobců základních desek.

Co přináší ICH9?

Tento nový SouthBridge, který (s výjimkou nejnižších čipsetů) nalezneme u všech čipsetů Intel 3 Series, nepřínáší mnoho nového. Je vyráběn stále 130nm technologií, obsahuje 4,6 milionu tranzistorů a jeho TDP se pohybuje kolem 4 W.

ICH9 nabídne celkem 12 USB portů, přidána byla nativní podpora pro eSATA a také došlo k implementaci technologie Intel Turbo Memory, kterou známe především z nových notebooků. Intel Turbo Memory najde své využití prozatím pouze ve Windows Vista pro funkce ReadyBoost a ReadyDrive. V případě desktopových PC s ICH9 by se Turbo Memory realizovala pomocí rozšiřující karty do PCIe x1 slotu, která by byla obsahovala rychlé NAND flash čipy s kapacitou až 8 GB. Zda se tato technologie rozšíří i v praxi ukáže až čas. Důležité budou především pořizovací náklady takovéto karty a také reálný nárust výkonu, který přinese.

Na ICH9 můžeme narazit ve třech variantách. Základní ICH9 obsahuje pouze 4 SATA porty a chybí technologie Intel Matrix Storage. Výše se nachází ICH9DH (Digital Home) obsahující už 6 SATA portů a také Intel Matrix Storage, ovšem bez podpory RAIDu. Konečně pak ICH9R (RAID) nabízí 6 SATA portů, Intel Matrix Storage a možnost tvorby RAID polí.

Závěrem...

Intel rozhodně nezklamal a jeho nové čipové sady si určitě zaslouží pozornost, neboť přináší několik důležitých novinek i příjemných změn. Nové čipové sady Intelu samozřejmě startují s vyšší cenou, avšak méně se hřejí, spotřebovávají méně energie a výkonem nás opět posouvají o krůček dále (ve spojení s rychlými DDR3 pamětmi to, zejména v budoucnu, může být i pěkný skok).

Podpora nových procesorů Intelu, jejichž uvedení na trh se pomalu blíží, je samozřejmě směrodatná při koupi nové desky (s novým čipsetem), podpora DDR3 je pak jednou z největších předností těchto čipsetů, obzvláště do budoucna. Zajímavé pro spoustu uživatelů mohou být již dnes desky s čipsetem P35 obsahující jak sloty pro DDR2, tak sloty pro DDR3 paměti. Není totiž nic jednoduššího, než si takovouto desku pořídit společně s levnými DDR2 pamětmi, a později, až ceny DDR3 opadnou, vyměnit stávající DDR2 za nové DDR3. Rozhodně se mi ale dnes ještě nejeví jako perspektivní, s přihlédnutím k aktuálním cenám, koupě nové základní desky pouze se sloty pro DDR3 paměti. Pokud ale na poměr cena/výkon nehledíte, jsou pro vás nové desky s podporu DDR3 jako stvořené.

Základní desky s čipsety G33, které jsou již také na trhu, toho rovněž nenabízejí zrovna málo. Pokud nehledáte grafický výkon, může se pro vás takováto deska stát ideální volbou při stavbě nového PC, s přihlédnutím k podpoře DDR3, nových procesorů, nových technologíí a nízké spotřebě. Zajímavý jistě bude i G35, u něhož Intel představí své nové grafické jádro. Je však nutné podotknout, že u tohoto čipsetu se nepočítá s podporou pamětí DDR3. Čipsety P31 a G31 nevycházejí z nové architektury a jak si v nejnižším segmentu trhu povedou, ukáže až čas.


Reklama
Reklama

Komentáře

Nejsi přihlášený(á)

Pro psaní a hodnocení komentářů se prosím přihlas ke svému účtu nebo si jej vytvoř.

Rychlé přihlášení přes:

Reklama
Reklama
Reklama