Článek Ostatní Základní desky

Super IO čipy - něco málo z teorie

Petr Mareš

12

Seznam kapitol

1. Super IO čipy - něco málo z teorie 2. Vysvětlení pojmů 3. Porovnání modelů, závěr

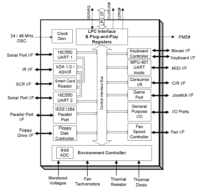
V recenzích základních desek narážíme na Super IO čip ve spojitosti se schopností řízení otáček ventilátorů. Primární účel čipu je ovšem jiný. Jeho úkolem je shromažďovat starší a pomalá rozhraní. Pojďme se tedy na něj podívat podrobněji a popišme si jeho základní funkce.

Odměníme každého! Vyplňte komunitní průzkum a získejte luxusní ceny

Odměníme každého! Vyplňte komunitní průzkum a získejte luxusní ceny

Kdo jste, na čem a co hrajete, jaký obsah konzumujete a jaký vztah máte k AI? Věnujte nám pár minut a jako dárek za vyplnění získáte slevu na nákup a šanci získat také další luxusní ceny.

Reklama

Oblast počítačů je jedna z nejrychleji se rozvíjejících oblastí, na kterou můžete narazit. Jejich výkon roste, cena klesá a každou chvíli jsou uváděny nové a lepší modely. V počítači však nalezneme komponenty, u kterých se vývoj zcela zastavil. Nejlepším případem je disketová mechanika. Obdobné je to s IO čipy. Současné modely jsou totiž několik let staré a s malými úpravami existují např. 6-7 let.

Příčinou jejich dlouhověkosti je účel, ke kterému jsou určeny. Smysl jejich existence je zprostředkovat spojení s minulostí. Mají tedy na starosti koncentraci starých rozhraní v zájmu zachování zpětné kompatibility.

Co je Super IO čip?

Super IO čip má na starost pomalá rozhraní na základní desce. Konkrétně jde o sériové porty, paralelní port, disketovou mechaniku, infračervené rozhraní, řadič klávesnice a myši, gameport a midi port. Všechny tyto zařízení musí být dostupná i přes různorodou implementaci IO čipů bez speciálních ovladačů. Čipy mají dále na starosti detekci průniku do skříně a často také nabízejí porty obecného určení. Jde o piny jejichž chování lze naprogramovat. Mohou být použity např. pro různé stavové diody.

Super IO čipy - něco málo z teorie


Oblíbený IO čip iTE IT8712F

Poslední komponentou je hardware monitor. Ten měří různá napětí, teploty některých částí základní desky a otáčky ventilátorů. Lepší modely dokáží ventilátory řídit a třeba i na základě naměřených teplot.



Poznámka

:

U high-end modelů základních desek rozšiřují někteří výrobci možnosti hardware monitoru pomocí dalšího čipu např. u Microstaru je to CoreCell či zcela nový FOX ONE od Foxconnu. Tyto čipy nabízejí složitější možnosti řízení chlazení či monitoringu, ale jejich prioritou jsou dokonalejší způsoby přetaktování.

Někdy se můžeme setkat s integrovanými výstřednostmi např. u SMSC LPC47M142 lze nalézt USB hub.

Super IO čipy - něco málo z teorie


Schéma LPC sběrnice ze specifikace LPC od Intelu

Celý čip připojen přes sběrnici LPC (Low Pin Count) k jižnímu můstku čipsetu. Tato sběrnice vznikla s ohledem na nízkou cenu a proto má jen čtyři datové vodiče. Její frekvence tepe na pouhých 33 MHz. Teoretická datová propustnost je tedy 132Mbit. Ke sběrnici se mimo IO čipu připojuje i BIOS.



Poznámka

:

Jeden z důvodů, proč se tak dlouho v PC nacházela ISA sběrnice, byl právě Super IO čip, který k ní byl připojen.

Historie

První z těchto čipů se začaly objevovat během 80. let. Vznik těchto čipů umožnilo zlepšení procesu integrace a hlavně tlak na cenu, protože většina těchto zařízení byla k desce připojována pomocí rozšiřujících karet. V současné době jsou v Super IO čipu integrována zařízení a rozhraní, která jsou v počítači z důvodu zpětné kompatibility a v brzké budoucnosti budou vypuštěna. Jenomže aby výrobci desek ušetřili nějaké dolary, musel by z desek zmizet celý čip, tedy všechny rozhraní najednou a to si výrobci zatím nedovolí.

Super IO čipy - něco málo z teorie


Staříček Winbond W83977TF z roku 1998 - sloužil na desce Microstar MS-6118 společně s čipsetem Intel 82440LX.

Čip byl původně připojen sběrnicí ISA, ale toto rozhraní zmizelo ze základních desek a tento čip přešel na sběrnici LPC. Aby se zachovala kompatibilita je tato změna pro software transparentní. Největší změnou je zvýšení frekvence z 8 na 33 MHz a snížení počtu datových vodičů z 8 nebo 16 na 4. Datová propustnost zůstala přibližně stejná.


Předchozí
Další
Reklama
Reklama
Reklama
Reklama