Galerie 3
AMD ohlásilo procesory EPYC s integrovanými FPGA AI akcelerátory
i Zdroj: Svět hardware
Aktualita Procesory AMD AMD

AMD ohlásilo procesory EPYC s integrovanými FPGA AI akcelerátory

Jan Vítek

Jan Vítek

9

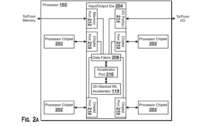
Společnost AMD nám zřejmě dala odpověď na to, co má znamenat její nedávno se objevivší patent, který ukazoval na 3D AI akcelerátory. Jak se ukazuje, budou to procesory vyzbrojené FPGA čipy od firmy Xilinx.

Odměníme každého! Vyplňte komunitní průzkum a získejte luxusní ceny

Odměníme každého! Vyplňte komunitní průzkum a získejte luxusní ceny

Kdo jste, na čem a co hrajete, jaký obsah konzumujete a jaký vztah máte k AI? Věnujte nám pár minut a jako dárek za vyplnění získáte slevu na nákup a šanci získat také další luxusní ceny.

Reklama

Během minulého měsíce se objevil patent, jehož popis zahrnoval jistý "3D-Stacked ML accelerator" umístěný na obvyklém I/O čipu procesorů EPYC. 

AMD ohlásilo procesory EPYC s integrovanými FPGA AI akcelerátory

Ty již ve verzích Milan-X dostaly nové čiplety Zen 3 s pamětí V-cache v "druhém patře", ovšem nyní už nepůjde o paměti, ale o logické čipy, které by měly být umístěny na I/O čipu, a to zřejmě pomocí stejné technologie. AMD tu tak v podstatě využije I/O čip coby interposer, ovšem s tím rozdílem, že interposer není třeba chladit. Proto bude muset být celá struktura napojitelná přímo na heatspreader, ale to už má AMD vyřešeno právě díky nasazení V-Cache. Navíc lze očekávat, že s chlazením to bude jednodušší, neboť zde by mohlo naopak více než I/O čip topit samotné FPGA, zvláště když pro ně bude vybrána vhodná pozice, kde I/O čip nejméně topí. 

AMD ohlásilo procesory EPYC s integrovanými FPGA AI akcelerátory

AMD nyní samo prozradilo, že počítá s nasazením FPGA AI enginů pro provoz systémů umělé inteligence ve svých procesorech, což pochopitelně budou serverová CPU. První výsledné produkty mají nastoupit už v příštím roce a založeny budou na FPGA firmy Xilinx, jejíž akvizici AMD nedávno dokončilo. 

Žádné podrobnosti o těchto produktech jsme se zatím nedozvěděli, ale oznámení firmy AMD si můžeme spojit právě s uvedeným patentem, který ukazuje právě na to, že půjde o přímé propojení FPGA s I/O čipy. 

V budoucnu přitom nemusí jít jen o SRAM (V-Cache) či FPGA, ale v podstatě cokoliv jiného, k čemu tu bude důvod. Nejde pochopitelně o šetření místem na procesorové destičce, ale o vertikální, čili přímé a nejkratší možné vysokorychlostní propojení dvou čipů a plné využití malých čipletů se všemi výhodami plynoucími z jejich výroby.

Pokud jde o produkty pro PC, pak ideálním křemíkem patřícím na vršek I/O čipu by se mohlo stát integrované GPU, čímž by AMD mohlo vyřešit i jeden aktuální neduh v jeho nabídce. Pro mnohá mobilní PC totiž nabízí monolitická APU, jejichž podstatná část v podobě iGPU vzhledem k využití dGPU (samostatná GPU) přichází vniveč. I proto nás bude zajímat, v jaké podobě nakonec přijde iGPU v čipletových procesorech Ryzen 7000, samozřejmě pokud se něco takového skutečně chystá.  


Reklama
Reklama

Komentáře

Nejsi přihlášený(á)

Pro psaní a hodnocení komentářů se prosím přihlas ke svému účtu nebo si jej vytvoř.

Rychlé přihlášení přes:

Reklama
Reklama
Reklama