Galerie 4
AMD stále pracuje na mamutím procesoru EHP pro exascale systémy
i Zdroj: Svět hardware
Aktualita Procesory AMD AMD

AMD stále pracuje na mamutím procesoru EHP pro exascale systémy

Jan Vítek

Jan Vítek

2

Společnost AMD prozradila už před téměř pěti lety, že pracuje na jistém Exascale Heterogeneous Processor (EHP), dle jehož označení je zřejmé, že je určen pro éru výpočetních systémů, jejichž výkon se už bude pohybovat v řádu exa. Jak to pokračuje?

Odměníme každého! Vyplňte komunitní průzkum a získejte luxusní ceny

Odměníme každého! Vyplňte komunitní průzkum a získejte luxusní ceny

Kdo jste, na čem a co hrajete, jaký obsah konzumujete a jaký vztah máte k AI? Věnujte nám pár minut a jako dárek za vyplnění získáte slevu na nákup a šanci získat také další luxusní ceny.

Reklama

AMD Exascale Heterogeneous Processor (EHP) se tak poprvé objevil v létě roku 2015, kdy jsme se už těšili na první procesory generace Zen. Mělo jít o obrovský složený čip, který bychom mohli označit za APU, obsahující vedle 32 procesorových jader také grafiku Greenland a paměti typu HBM. A zatímco AMD už dávno nabídlo 32jádrové procesory, o žádném produktu, který by vedle toho obsahoval také výkonnou grafiku s vlastní pamětí, jsme už poté až do dnešního dne neslyšeli. 

AMD stále pracuje na mamutím procesoru EHP pro exascale systémy

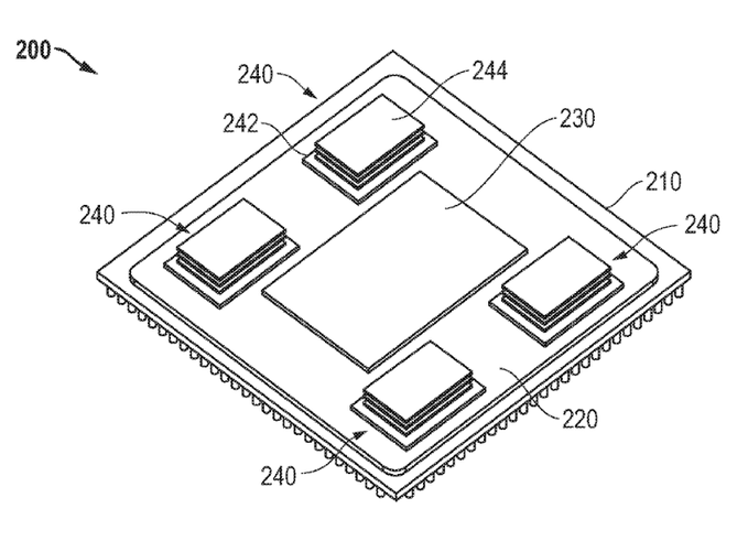
Je ale zřejmé, že na takový produkt dosud neuzrál čas, i když by to už nemuselo dlouho trvat. Jde o využití moderních způsobů pouzdření, které už AMD víceméně zvládá, pokud jde o propojení křemíkovým interposerem a vedle toho jsou už k dispozici i výkonné paměti HBM2, které mohou nabídnout výhledově až 4,2 Gb/s na pin, pokud jde o 3. generaci od Samsungu. Takové paměti by ve výše zobrazené konfiguraci s 4096bitovým rozhraním dosáhly propustnosti cca 2 TB/s, což by snad mohlo pro začátek stačit i pro kalibr EHP. 

Problém je ale ten, že o EHP se toho zatím moc neví, a to právě i z hlediska očekávaného výkonu. Má se zde využít pouzdření X3D, dynamická správa paměti, heterogenní architektura pro hluboké učení, atd. 

Pouzdření X3D bylo představeno nedávno a zatím víme jen to, že bude kombinovat 2,5D pouzdření a 3D vrstvení s TSV spoji skrz křemíkové čipy. Paměti HBM přitom jsou vrstvené už od první generace, takže lze předpokládat, že se to bude týkat i jiných čipů ve výsledném produktu, ale to se ještě ukáže. 

AMD stále pracuje na mamutím procesoru EHP pro exascale systémy

Stejný odkazovaný článek pak ještě popisuje jistou Infinity Architecture a právě ta by se mohla skrývat pod onou dynamickou správou paměti. Ve zkratce jde o vzájemné propojení procesorů EPYC a grafických karet pomocí Infinity Fabric namísto PCIe, což umožní i to, aby CPU i GPU měly přístup do společné paměti. V rámci jednoho APU pak takový přístup dává ještě větší smysl, čili takové zařízení by už vůbec nepotřebovalo obvyklé paměti DDRx RAM, respektive ty by pravděpodobně tvořily v paměťové hierarchii až další úroveň v posloupnosti cache - HBM - RAM - SSD, atd. Nabídnout by totiž mohly něco, co HBM i přes všechen pokrok dosud nedokáží, a to mnohem vyšší kapacitu. 

AMD stále pracuje na mamutím procesoru EHP pro exascale systémy

z patentů firmy AMD

Vypadá to tak, že AMD se pokusí přinést světu architekturu, která dokáže posunout výkon superpočítačů do éry exascale, čímž nemyslíme první "nesmělé" pokusy v podobě strojů Aurora, Frontier nebo El Capitan. Poslední dva jmenované, které budou založeny na hardwaru AMD, by ostatně nic jako EHP využívat neměly. Jde až o systémy, které přijdou po nich a z této vidiny by mohla být nervózní především NVIDIA, která na rozdíl od AMD a Intelu nemá možnost, jak podobným způsobem úzce spojit výkon procesorů x86 a grafických karet. Respektive má, ale výrobci procesorů by jí to museli umožnit. 

Od Underfoxe je toho na Twitteru ještě mnohem více, pokud jde o volně přístupné patenty firmy AMD. Ty popisují třeba integrování regulátoru napětí nebo způsob nakládání s daty ve vrstvených pamětech v závislosti na teplotě. 


Reklama
Reklama

Komentáře

Nejsi přihlášený(á)

Pro psaní a hodnocení komentářů se prosím přihlas ke svému účtu nebo si jej vytvoř.

Rychlé přihlášení přes:

Reklama
Reklama
Reklama