Galerie 2
EA si patentuje systém pro dynamickou změnu obtížnosti her
i Zdroj: Svět hardware
Aktualita Grafiky a hry Hry a technologie Electronic Arts

EA si patentuje systém pro dynamickou změnu obtížnosti her

Jan Vítek

Jan Vítek

7

Společnost Electronic Arts si nechala zaregistrovat nový patent týkající se her a jejich obtížnosti. Konkrétněji jde o systém, který dokáže dynamicky měnit obtížnost her, ovšem EA pochopitelně není první, koho to napadlo.

Odměníme každého! Vyplňte komunitní průzkum a získejte luxusní ceny

Odměníme každého! Vyplňte komunitní průzkum a získejte luxusní ceny

Kdo jste, na čem a co hrajete, jaký obsah konzumujete a jaký vztah máte k AI? Věnujte nám pár minut a jako dárek za vyplnění získáte slevu na nákup a šanci získat také další luxusní ceny.

Reklama

Dynamické nastavení obtížnosti her už je dobře známý pojem, ovšem přístupy jsou tu velice rozdílné a mohou se týkat třeba rychlosti nepřítel a počtu jejich hitpointů, počtu nepřátel, frekvence, v níž se objevuje nová výbava pro hráče, časová lhůta pro splnění úkolu, atp. Jakým způsobem ale uvažují v Electronic Arts? 

EA si patentuje systém pro dynamickou změnu obtížnosti her

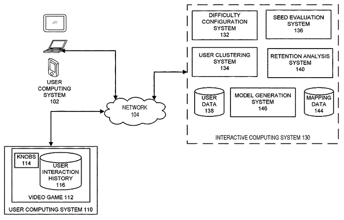
Patent firmy EA byl podán už v předchozím roce, ale informace o něm byly zveřejněny teprve letos v březnu, kdy byl schválen, a my v něm můžeme najít dvě úzce související hlavní příčiny, proč vůbec vznikl. Jednak je to pochopitelná snaha herních vývojářů o to, aby lidé jejich produkty používali co nejdéle. To znamená, že lidé by neměli být otráveni příliš vysokou či naopak nízkou obtížností, což je právě ta druhá příčina. 

Electronic Arts tak chce vytvořit automatický systém pro nastavení obtížnosti, který by změny servíroval spíše v malých dávkách a který by ovšem také byl transparentní z pohledu uživatele. Počítá se s během tohoto systému v rámci cloudu a také s tím, že se bude rozhodovat na základě skutečné hráčovy rychlosti postupu ve hře v porovnání se stanoveným standardním postupem. Využije se tu také rozdělení uživatelů do skupin dle jejich umu, a to jednak v rámci aktuálně spuštěné hry, vedle čehož budou lidé škatulkováni také dle jejich historie v dalších hrách, které využijí stejný systém. 

Firma také počítá s využitím umělé inteligence a strojového učení, což bude součást celého systému pro dynamické nastavení obtížnosti a právě v tomto ohledu by měla být první, kdo něco podobného nabídne, zvláště pokud půjde o systém beroucí ohledy na ucelený výkon hráče v různých titulech.  

EA přitom nedávno zažalovali tři hráči, dle nichž firma zneužívala svůj již existující systém pro nastavení obtížnosti ve hrách Madden NFL, FIFA a NHL k tomu, aby z lidí mámila více peněz za mikrotransakce. Měla úmyslně zvyšovat obtížnost tak, aby lidé byli motivováni spíše platit za svůj postup, ovšem později byla žaloba stažena, když zástupci EA vysvětlili, jak daná technologie funguje a nabídli přístup k vývojovému procesu, který za ní stojí. 


Reklama
Reklama

Komentáře

Nejsi přihlášený(á)

Pro psaní a hodnocení komentářů se prosím přihlas ke svému účtu nebo si jej vytvoř.

Rychlé přihlášení přes:

Reklama
Reklama
Reklama