Recenze Ostatní Základní desky Platforma Intel Socket 775 Gigabyte

7x základ s P965: Gigabyte GA-965P-DS3

Petr Mareš

20

Seznam kapitol

1. 7x základ s P965: Gigabyte GA-965P-DS3 2. BIOS a softwarová výbava 3. Spolupráce s paměťovými moduly + přetaktování 4. Spolupráce s procesory + přetaktování 5. Výkonnostní testy

První zástupce v našem srovnávacím testu základních desek s chipsetem P965 je Gigabyte GA-965P-DS3. Obsahuje jeden slot PCIe x16, dva sloty PCIe 1x a tři sloty PCI. Chlazení je zde řešeno dvěma pasivy. Orientační cena je cca 4 300 Kč s DPH.

Odměníme každého! Vyplňte komunitní průzkum a získejte luxusní ceny

Odměníme každého! Vyplňte komunitní průzkum a získejte luxusní ceny

Kdo jste, na čem a co hrajete, jaký obsah konzumujete a jaký vztah máte k AI? Věnujte nám pár minut a jako dárek za vyplnění získáte slevu na nákup a šanci získat také další luxusní ceny.

Reklama

Poslední základní desky Gigabyte, na které jsme se podívali, byly modely GA-8I955X Royal a GA-G1975X. Obě se dají považovat za ladičské a pro přetaktovaní přímo stvořené. Zvláště pak první jmenovaná z královské edice (jež jako specialitu nabízela osmifázové napájení procesoru pomocí přídavného modulu).

7x základ s P965: Gigabyte GA-965P-DS3

Dnes představovaná deska je mířena do střední cenové kategorie, a proto nelze očekávat takové "výstřednosti". Slabší bude samozřejmě i příslušenství. Pokud budete chtít vybavenější model od Gigabyte, počkejte si chvíli, brzy se podíváme i na vybavenější Gigabyte GA-965P-DS4.

7x základ s P965: Gigabyte GA-965P-DS3

Krabice a příslušenství

7x základ s P965: Gigabyte GA-965P-DS3

V bílé krabici mimo základní desky naleznete 4 datové SATA kablíky. Jejich konektory jsou opatřeny kovovými pojistkami, takže při správné instalaci drží jak přibité. Dále dostanete jeden datový kabel PATA a jeden kabel k disketové mechanice.

7x základ s P965: Gigabyte GA-965P-DS3

Výbava pokračuje CD s ovladači a programy, průvodcem instalací, manuálem a nálepkou. A to je vše. Žádné redukce napájení SATA, žádné rozšiřující brackety - nic takového.

7x základ s P965: Gigabyte GA-965P-DS3

Příslušenství patří opravdu k těm skromnějším. Nejvíce mi chybí rozšiřující bracket s USB porty, protože čtyři, které dostanete k dispozici mezi výstupy v zadní části základní desky, jsou žalostně málo. Zde může pomoci počítačová skříň, která obsahuje další dva. Samozřejmě se dá rozšiřující bracket panel zakoupit, ale jsou to další starosti i výdaje navíc.

Rozložení komponent

Jako vždy náš popis zahájíme rozložením komponent. Nabídka jednotlivých slotů je dostatečná: tři PCI, tři PCIe a jeden PCIe x16. K jejich rozložení nemám námitek. Slot pro grafickou kartu je dostatečně vzdálen od paměťových slotů a zároveň neohrožuje použitelnost sice starších, ale hojně používaných PCI slotů. Západka na PCIe x16 slotu si též zaslouží pochvalu. Její chod nevyžaduje žádnou velkou sílu a navíc je přístup z pravé strany, proto nedochází k tak častému zakrytí chladičem.

7x základ s P965: Gigabyte GA-965P-DS3


- klikněte pro zvětšení -

Konektory napájení tvořené jedním 24-pinovým Main Power konektoren a jedním 4-pinovým +12V konektorem se nacházejí po stranách a nepřekáží tak ostatním komponentám. Výrobce zřejmě nepočítá s nějakým extremním zatížením napájení procesoru, a proto zvolil pouze jeden 4-pinový +12V konektor. Není jiné volby než souhlasit, tyto základní desky jsou určeny spíše pro Core 2.

7x základ s P965: Gigabyte GA-965P-DS3

K připojení pevných disků a mechanik nabízí deska 6 zavřených konektorů SATA300. Čtyři SATA porty zprostředkovává přímo čipová sada, tedy přesněji SouthBridge. Zbylé dva a jediný PATA kanál zajišťuje přídavný řadič. Jediný PATA port je problém, ale nezbývá nic jiného, než se s tím smířit. Základní deska s více PATA kanály a chipsetem P965 pravděpodobně na trhu není nebo alespoň se mi ji nepodařilo najít. Čtyři SATA porty, které zprostředkovává jižní můstek ICH8, nepodporují RAID pole. Situaci zachraňuje alespoň přídavný řadič, ktery nabízí RAID 0, 1, 0+1 a JBOD.

Ostatní konektory jako USB, konektory pro připojení skříně, které jsou pečlivě popsané a barevně odlišené, nalezneme na levém kraji desky. Konektor disketové mechaniky se nachází pod paměťovými sloty.

7x základ s P965: Gigabyte GA-965P-DS3

Dvojpin pro reset Biosu se ukrývá vedle baterie pod slotem PCIe x16. Toto umístění není moc šťastné. V případě většího chladiče se může stát, že dojde k jeho zakrytí. Taktéž další rozšiřující karty budou stěžovat přístup. Konektor má jen dva piny a k resetování dojde při jejich delším spojení. Jumper není dodáván, protože ho není na desku kam dát a není ani součástí příslušenství. Resetování pomocí šroubováku je poněkud nepříjemné.

Trochu zklamání způsobí pouhé dva konektory pro ventilátory. To je na mainstreamovou základní desku trochu málo.

7x základ s P965: Gigabyte GA-965P-DS3

Fotografie spodní strany desky nepřináší žádné překvapení. Kolem patice nejsou SMD součástky ani rozptylovače tepla.

7x základ s P965: Gigabyte GA-965P-DS3

Z vrchní strany by rozměrnějším chladičům nemělo nic překážet. Snad je pouze třeba dávat si pozor na vyšší pasivní chladič čipu NorthBridge. Naopak všechny rizikové kondenzátory jsou nízké. Při instalaci našeho referenčního chladiče Gigabyte G-Power Lite jsem nenarazil na sebemenší problém.

7x základ s P965: Gigabyte GA-965P-DS3


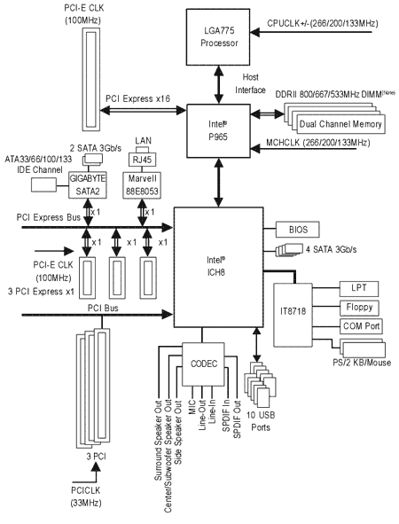
Blokový diagram přímo z manuálu

7x základ s P965: Gigabyte GA-965P-DS3


Layout desky přímo z manuálu

Vnitřní konektory nacházející se přímo na základní desce:

  • 6x SATA300 - 4x čipová sada, 2x přídavný řadič
  • 1x PATA - přídavný řadič
  • 3x USB 2.0 - 3x 2 porty
  • 1x audio, SPDIF-in, CD-in
  • 2x ventilátor - 4-pin
  • systémové konektory

Vnější konektory:

7x základ s P965: Gigabyte GA-965P-DS3


2xPS/2, LPT,SPDIF (coax, opt), serial, 4x USB, LAN, audio

Teploty chladičů čipové sady

O chlazení se starají dva pasivní chladiče. Základní deska se na hluku tedy podílet nebude. Severní můstek byl při měření částečně ofukován chladičem procesoru G-Power Lite. Takže v případě použití jiného chladiče (např. AC Freezeru) dosáhnete vyšších teplot (u NorthBridge je teplota v závorce bez vlivu G-Power Lite).

7x základ s P965: Gigabyte GA-965P-DS3


SouthBridge 57,5°C / 59°C NorthBridge 62°C / 63°C (75°C / 76°C )

Regulace otáček ventilátorů pomocí BIOSu a programu Speedfan

Program SpeedFan v poslední verzi 4.29 nebyl schopen správně rozpoznat použitý IO chip, a proto byla většina údajů, které nabízel, nepoužitelná. Jediné relevantní hodnoty byly teploty a některé hodnoty napětí, které však byly zpřeházené.

V BIOSu je implicitně nastaveno řízení ventilátoru procesoru podle teploty. Nastavení dokonce nabízí oba způsoby řízení pomocí napětí i pomocí PWM. Druhý konektor pro ventilátor je také řízený.

Regulace otáček ventilátorů

CPU_FAN SYS_FAN
SpeedFan 4.29 NE NE
BIOS ANO ANO


Použité čipy

  • Audio - Realtek ALC883 - HD audio 7.1
  • IO - iTE IT8718F-S - Umí řídit tři ventilátory pomocí PWM, pět monitorovat. Dále nabízí dvě 16C550 UART, IEEE 1284 paralelní port, řadič disketové mechaniky a řadič klávesnice. Obecný článek k IO čipům zde.
  • LAN - Marvell 88E8053-NNC1 - gigabit, připojeno přes PCIe 1x. Obecný článek k integrovaným sítovým kartám zde.
  • SATA & PATA - JMicron JMB 363 - 1x PATA, 2x SATA 300 včetně RAID 0, 1 ,0+1, JBOD s podporou NCQ, HotPlug, eSATA - připojeno přes PCIe 1x.
7x základ s P965: Gigabyte GA-965P-DS3


Audio - Realtek ALC883

7x základ s P965: Gigabyte GA-965P-DS3


IO - iTE IT8718F-S

7x základ s P965: Gigabyte GA-965P-DS3


LAN - Marvell 88E8053-NNC1

7x základ s P965: Gigabyte GA-965P-DS3


SATA & PATA - "přetištěný" řadič JMicron JMB363


Předchozí
Další
Reklama
Reklama
Reklama
Reklama